SNLS341C March 2011 – March 2015 DP83848Q-Q1
PRODUCTION DATA.
The number of applications requiring Ethernet connectivity continues to increase, driving Ethernet-enabled devices into harsher environments.
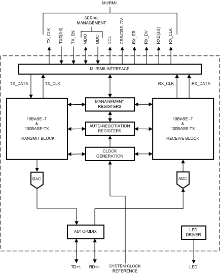
The DP83848Q-Q1 was designed to meet the challenge of these new applications with an extended temperature performance that goes beyond the typical Industrial temperature range. The DP83848Q-Q1 is a highly reliable, feature rich, robust device which meets IEEE 802.3u standards over an extended temperature range of –40°C to 105°C. This device is ideally suited for harsh environments such as automotive and transportation, wireless remote base stations, and industrial control applications.
The device offers enhanced ESD protection and the choice of an MII or RMII interface for maximum flexibility in MPU selection; all in a 40 pin WQFN package.
The DP83848Q-Q1 extends the leadership position of the PHYTER™ family of devices with a wide operating temperature range. The TI line of PHYTER transceivers builds on decades of Ethernet expertise to offer the high performance and flexibility that allows the end user an easy implementation tailored to meet these application needs.
| PART NUMBER | PACKAGE | BODY SIZE (NOM) |
|---|---|---|
| DP83848Q-Q1 | WQFN (40) | 6.00 mm × 6.00 mm |
