SCLS464A September   2002  – January 2015 CD74HC4051-EP

PRODUCTION DATA.  

  1. Features
  2. Applications
  3. Description
  4. Revision History
  5. Pin Configuration And Functions
  6. Specifications
    1. 6.1 Absolute Maximum Ratings
    2. 6.2 ESD Ratings
    3. 6.3 Recommended Operating Conditions
    4. 6.4 Thermal Information
    5. 6.5 Electrical Characteristics
    6. 6.6 Analog Channel Characteristics
    7. 6.7 Switching Characteristics
    8. 6.8 Typical Characteristics
      1. 6.8.1 Recommended Operating Area as a Function of Supply Voltages
  7. Parameter Measurement Information
  8. Detailed Description
    1. 8.1 Overview
    2. 8.2 Functional Block Diagram
    3. 8.3 Feature Description
    4. 8.4 Device Functional Modes
  9. Application and Implementation
    1. 9.1 Application Information
      1. 9.1.1 TTL-to-HC Interface
    2. 9.2 Typical Application
      1. 9.2.1 Design Requirements
      2. 9.2.2 Detailed Design Procedure
      3. 9.2.3 Application Curves
  10. 10Power Supply Recommendations
  11. 11Layout
    1. 11.1 Layout Guidelines
    2. 11.2 Layout Example
  12. 12Device And Documentation Support
    1. 12.1 Trademarks
    2. 12.2 Electrostatic Discharge Caution
    3. 12.3 Glossary
  13. 13Mechanical, Packaging, and Orderable Information

封装选项

请参考 PDF 数据表获取器件具体的封装图。

机械数据 (封装 | 引脚)
  • D|16
散热焊盘机械数据 (封装 | 引脚)
订购信息

1 Features

  • Controlled Baseline
    • One Assembly and Test Site, One Fabrication Site
  • Extended Temperature Performance of –55°C to 125°C
  • Enhanced Diminishing Manufacturing Sources (DMS) Support
  • Enhanced Product Change Notification
  • Qualification Pedigree(1)
  • Wide Analog Input Voltage Range of ±5 V Max
  • Low ON-Resistance
    • 70 Ω Typical (VCC – VEE = 4.5 V)
    • 40 Ω Typical (VCC – VEE = 9 V)
  • Low Crosstalk Between Switches
  • Fast Switching and Propagation Speeds
  • Break-Before-Make Switching
  • Operation Control Voltage = 2 V to 6 V
  • Switch Voltage = 0 V to 10 V
  • High Noise Immunity NIL = 30%, NIH = 30% of VCC, VCC = 5 V (1)
(1) Component qualification in accordance with JEDEC and industry standards to ensure reliable operation over an extended Accelerated Stress Test (HAST) or biased 85/85, temperature cycle, autoclave or unbiased HAST, electromigration, bond intermetallic life, and mold compound life. Such qualification testing should not be viewed as justifying use of this component beyond specified performance and environmental limits.

2 Applications

    Supports Defense and Aerospace Applications

3 Description

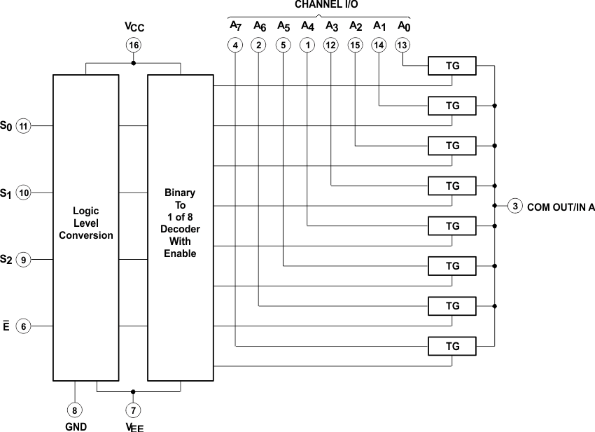
The CD74HC4051-EP is a digitally controlled analog switch that uses silicon gate CMOS technology to achieve operating speeds similar to LSTTL, with the low power consumption of standard CMOS integrated circuits.

This analog multiplexer and demultiplexer controls analog voltages that may vary across the voltage supply range (that is, VCC to VEE). These bidirectional switches allow the use of any analog input as an output and vice versa. The switches have low ON-resistance and low OFF leakages. In addition, the device has an enable control (E) that, when high, disables all switches to their OFF state.

Device Information(1)

PART NUMBER PACKAGE BODY SIZE (NOM)
CD74HC4051-EP SOIC (16) 4.00 mm × 10.00 mm
  1. For all available packages, see the orderable addendum at the end of the data sheet.

Functional Block Diagram

logic_diagram_positive_scls464.gif

4 Revision History

Changes from * Revision (September 2002) to A Revision

  • Added ESD Ratings table, Feature Description section, Device Functional Modes, Application and Implementation section, Power Supply Recommendations section, Layout section, Device and Documentation Support section, and Mechanical, Packaging, and Orderable Information section. Go